服务热线


网站导航
主营产品:
自吸泵
当前位置:主页 > 产品展示> 自吸泵

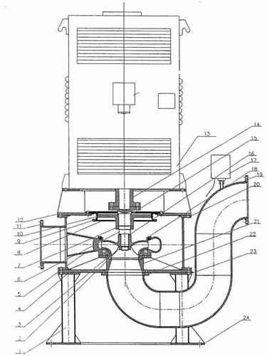
WFB高压大功率无密封自控自吸泵

产品时间:2021-07-08 14:27

简要描述:

WFB系列无密封自控自吸泵,是填补国内空白的首创产品,该产品具有耐温耐压、“一次引流”、“终生自吸”等多种功能。目前生产321、304、 316、316L、A3、PP(增强聚丙烯)等多种材质...

详细介绍

WFB系列无密封自控自吸泵,是填补国内空白的首创产品,该产品具有耐温耐压、“一次引流”、“终生自吸”等多种功能。目前生产321、304、 316、316L、A3、PP(增强聚丙烯)等多种材质的系列整机,五种不同造型共一千余种规格。在电子、电力、化工、冶金、医药、食品、电镀、环保、消防、市政、净水、国防军工、纺织印染、采掘选矿、民用建筑等行业中广泛适用,深受用户的好评。

1、采用“泵用连环式多面离心密封装置”,革除了传统水泵的填料密封、盘根密封、机械密封、彻底制服了“跑、冒、滴、漏”,是替代各种长轴液下泵、潜水泵等最理想的设备。

2、运行过程中密封装置不摩擦,无麿损,使用寿命较同类产品长10倍以上。

3、移植真空泵原理,自吸性能稳定可靠,特别是采用“电动空气控制阀”,真正实现了“一次引流,终生自吸”。

4、振动小,噪音低,移动灵活,拆卸简便、易于安装,不需地脚固定。

5、具有优越的自控功能,可与高科技领域和高度自动化系统配套使用。

1.jpg


 


产品咨询

留言框

  • 产品:

  • 留言内容:

  • 您的单位:

  • 您的姓名:

  • 联系电话:

  • 常用邮箱:

  • 详细地址:

推荐产品

Copyright © 乐鱼-乐鱼(中国)一站式官网官网 版权所有  

添加QQ客服:

服务热线

扫一扫,关注我们

微信二维码
weixinhao
微信号